|
|
The rotary piston array (RPA) is the possibly most compact and most elegant machine to transform the volumetric change of gas into shaft work and vice versa. It can be used as pneumatic motor, steam engine, gas compressor, vacuum pump and the like, but also as part of new heat or combustion engines which – like the Stirling engine – open new ways to harvest renewable energy. Other possible uses are refrigeration and air-conditioning.
The idea has been overlooked for at least 110 years, as some old patents indicate, and it seems to have been reinvented several times (e.g. DE131392, DE19738132, FR1199521, US2410341). The earliest patent I know of is by Adolf Wünsche from 1901. It seems that the inventors have given up too soon due to lack of support. We could have clean cars and independence from oil today, if they had continued. Here comes an improved design of my own, and new applications.



The machine comprises an array of equally shaped twisted rotors with parallel axes. The rotors constitute the walls of sealed cavities or working chambers, which move axially from one end of the array to the other in response to synchronized rotor rotation. The cavities may change their volume during their travel and thereby compress or expand the air enclosed. The rotors do not touch one another to avoid wear and friction, but the gaps are narrow enough to keep the loss of gas neglectable above a certain rotational speed. Special rotating valves at the rotor ends guide the gas stream cleanly to the cavities. These valves require the normally lens-shaped "sharp" rotor profile to be smoothly transformed into a circular "round" profile at the rotor ends to keep the cavities there permanently open.
The more rotors, the less material and space is needed to enclose a given total volume of working chambers. The power density of the RPA can therefore be much higher than that of a conventional piston machine. Besides, its friction is very low. The RPA can be designed to produce a continuous flow at an uniform torque. No oil is needed on the rotors, neither for lubrication nor sealing nor cooling, which makes the RPA applicable at high temperatures. Below is a simple RPA air compressor with six rotors shown in three different sections. Note how the cavities develop and move and change their volume and finally vanish.



The same design can reversely be used as steam engine or pneumatic motor. A promising application could be the efficient production of compressed air as a storable form of energy. Compressed air can easily be stored in the tank of a pneumatic car, or in the tower of a wind energy plant.
The manufacturing of the rotors is easier than it looks. In some cases, the rotors can simply be molded of a fiber-reinforced resin material, with a high content of filler and fibers. In other cases, the rotors can be composed of metal or ceramic plates along their axles. The plates can quickly be cut out from a raw plate with a laser beam, with the proper angle at the rims, and together with the axle hole. A slightly specialized laser cutter is needed that can cut at a computer-controlled angle. Finally, the rotors can be made on a 3D milling machine with a disc-shaped tool.

One of my own contributions is the synchronization mechanism shown below, the synchronization rings. It avoids the expensive gears of previous designs, and especially their gear play, which would either cause the blocking of rotors, or complicate the sealing of working chambers. The mechanism is somewhat similar to connecting rods, but it is much lighter and requires no extra bearings, and it allows for much higher speeds. The rings roll on one another with very low friction. The parts are easy to produce. The picture does also show one of my other inventions, namely the rotating valves where the air bubbles emerge. They ensure optimal sealing while being robust against the thermal dilatation of machine parts.


Patents are pending. There is more information in the documents below.
Synchronisiergetriebe.pdf (German) ...
Drehkolbenmaschine.pdf (German) ...
The RPA can be used in several ways to convert geothermal heat into electricity. A not so straightforward technology is the following Brayton cycle heat engine with two RPA's, which uses atmospheric air as a working fluid. This will work even in situations when conventional steam technology fails or does not pay, namely at low temperatures or at small scales.

The machine is analogous to a jet engine, but the compressor and expander turbines are replaced by RPA's, and the burner is replaced by a system of connected boreholes, which constitute a heat exchanger in the hot soil. Compared with a turbine, the RPA runs fine even at low gas speeds where the aerodynamic losses are small. Besides, the RPA has fewer and less complex parts.
The compressor pumps cold atmospheric air down a borehole deep into the Earth, where the geothermal heat increases both the pressure and the temperature of the air. The hot air escapes the pressure through a second borehole and drives the expander, which in turn drives both the compressor and the dynamo. The dynamo converts the shaft work into useful electricity whereas the compressor pumps new cold air into the Earth. The expander can drive the compressor against the pressure forces because it is slightly bigger and therefore stronger.
The almost same RPA heat engine as the one above can convert solar radiation into electricity. Just the heat exchanger is replaced by an absorber tube, onto which the sunlight is concentrated by a parabolic through.

The vaporization of injected water droplets in the hot air, right after the absorber, would improve the thermal efficiency and reduce the gas temperature.
Unlike a normal gas turbine, the RPA avoids the aerodynamic losses that a turbine compressor normally has. It can be operated at higher temperatures because it has no thin turbine blades that must withstand high mechanical stress. The RPA rotors are compact in shape and can therefore be made of a fragile but heat resistant material such as ceramics. Air cooling channels can easily be integrated into the rotors.
Pictures of a heat resistent RPA design ...
The almost same RPA heat engine as the two above can be driven by the temperature difference between atmospheric air and sea water. The heat exchanger is now a long subsea tube. The machine will run in both directions, when the air is warmer than the water, but also when it is colder - ideal for tropical islands, but also for cold countries with many lakes.

Depending on location and season, one may often observe temperature differences of 5 to 15 K or more. Under such conditions, the conversion efficiency is only a few percent. But on the other hand, the amount of heat contained in the sea and the atmosphere is so huge, that these few percent can be a lot, and the energy is for free. The machine will be profitable if tubes are cheap enough.
A Stirling engine of a given power is the larger, the smaller the temperature difference is. And it needs to be large as a whole, with large pistons and cylinders and everything. Perhaps too large and expensive for this application. And it would need some extra device to extract the heat from the water. In contrast, the only thing that becomes large in the RPA machine is the heat exchanger tube, which also collects the heat. A great advantage.
The RPA heat engine may also be useful to recover waste heat from all kinds of industrial processes.
Finally, the RPA-based Brayton cycle machine can be powered by combustion. The continuous combustion process can easily be optimized for both high efficiency and low emmissions, and it is silent. The machine below might be useful to generate electricity in a hybrid car. It could be fired with almost everything, even with dry wood.

Frequently asked questions and answers about the RPA, click here ...
May be useful in robotics. Is's strong and fast and compact and easy to produce.
More precisely, it's a high torque electromagnetic motor without permanent magnets. Reversely, it can also serve as an integrated low-speed generator-gear-unit for a wind energy plant - which requires only one single magnet, in this case.

More information is in the document below.
Kompaktantrieb.pdf (German) ...
Ocean waves represent a considerable renewable energy resource. A variety of technologies have already been proposed to capture energy from waves, but this one requires a minimum of material, is cheap and robust.

The proposed ocean wave energy converter is an array of parallel Savonius rotors with elastic blades, which are arranged to form a plane and are mounted on tensioned axes in a rectangular frame. The diameter of the rotors is small compared to their length, and compared to the height of the waves. The rotors are made of rubber or plastic on a core of aluminium and rotate around tensioned axes of carbon fibres or coated steel. At the ends of each rotor sit small dynamos which transform the rotational movement of the rotors into electricity.

In order to capture energy from waves the proposed converter must be positioned right beneath the water surface and oriented parallel to it. Under the ocean waves there is an oscillating flow field that locally changes its direction all the time. The Savonius rotors are driven by any local water flow that has a directional component perpendicular to their axis, no matter from which direction the water comes. There is nearly everywhere a driving flow component along the rotors if the rotors are long and their diameter is small enough. The picture below illustrates the flow field under a sea wave that is coming from the left and how it hits the rotors.

Elastic rotor blades do significantly improve the efficiency of the Savonius rotors, and so does the narrow parallel arrangement of the rotors, which accelerates the water flow between them. Tensioning the rotor axes in a frame allows to construct very thin and long rotors which can still resist the water force. All rotor parts can be produced cheaply by simple extrusion. The wave energy converter can be installed floating offshore as well as be fixed to poles near the coast - invisibly submerged under the water surface. Below is a floating ocean wave converter.

More information is in the documents below. Patent is pending.
Wellenkonverter.pdf (German) ...
WaveConverter.pdf (English) ...
An improved ocean wave energy converter of the kind presented above is the synchronized rotor array (SRA). Its Savonius rotors have S-shaped profiles in cross section, which generate a great deal of the torque efficiently by hydrodynamic lift rather than by drag. The rotors are synchronized in a special manner so that they support each other.


The synchronization is done by the gears of a special gear pump, which also collects the power of the single S-rotors and outputs it as pressurized sea water. Pressurized sea water can easily be guided through tubes, can be used for electric power generation or as input of a desalination filter. Most parts of an SRA including the gears can be made of plastics, even of recycled waste plastics. More information is in the document below.
Wellenkraftmaschine.pdf (German) ...
Patent is granted: DE102010008976.
In the meantime, I have begun to make some wave rotors of plywood ...

... and I tested one of these rotors in a river, see the video:
This is a wave-driven drainage pump with no moving parts. It can cheaply be made of concrete and may be useful where the sea level is rising.

The shown device pumps rain water from below sea level (small waves) into the sea (big waves). The left side is an OWC-type wave chamber whose oscillating air pressure drives the cascade of artesian wells on the right side.
The basins would ideally be closed to rings, which saves material and weight and also simplifies construction. Given enough basins and a large wave chamber, the water can, in principle, climb to any height. The wave pump would ideally be installed on a float near the coast.
Together with a water turbine, the wave pump can be used for electric power generation. The higher the water is pumped, the smaller the turbine can be. This is an advantage over other wave power technologies such as the tapered channel, which can elevate the water only to a limited height. Another advantage is that the wave pump may elevate freshwater, in a closed loop, which is less corrosive to the turbine than sea water.
More information is in the documents below. Patent is pending.
Meerwasserpumpe.pdf (German) ...
Below are pictures from testing a protype:



Here is a video:
wpum_209.mov (37 MB, QuickTime, best) ...
wpum_209.avi (25 MB, Windows Media) ...
wpum_209.mpg (8.4 MB, small) ...
The prototype shown in the video has a too small wave chamber for the wave conditions at that day. The next prototype may have a wave chamber of adaptable size.
BTW - this prototype is for SALE. The price is, say, 2000 Euros plus transport. It is the first prototype that proves the wave pump concept work. Someone may use it as furniture, for example. It is designed and handcrafted by myself, and it is surely unique. It is made of reinforced concrete and acrylic glass. It is 80 cm high and it weighs some 130 kilograms, if I remember well.
In the meantime, I have further developed the wave pump technology. The foto below shows a reusable and extendable mold for wave pumps, which is suitable for mass production:


And here is a more efficient design for power generation:


The shown unit stands with its four feet on the sea ground, with some 2/3 of the pump cascade positioned above the sea level and 1/3 below. The second picture is a section through the wave chamber.
In the new design, the pump cascade does also serve as a wave chamber wall. Water can now enter the pump cascade at a higher level, namely as high as the tips of the waves that hit the outer side of the wave chamber, the pump height is thereby effectively reduced. Moreover, the gaps in the flooded part of the pump cascade constitute an additional inlet for the waves, less of the valuable wave energy is reflected away by the wave chamber walls.
The shown unit can be 5, 10, 20 meters high, perhaps more. As with most marine technologies: bigger is better. The elevated water from a multitude of such units can be collected and sent via tubes to a common water turbine.
Unlike most other heat engines, this one has no compressor and no expander. Its thermodynamic cycle consists of two isochoric and three isobaric steps. One advantage is that the working fluid is not constrained to be a gas, but it can also be a liquid, or even a solid. It can, for example, directly use the hot water in a geothermal borehole as its working fluid.

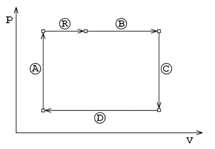
Its basic component is a special pump that allows an efficient heat transfer to and from the working fluid while the fluid is enclosed in the pump at a constant volume. The pump can be a simple gear pump with thin heat conducting walls. Two of these pumps (1, 2) are coupled mechanically as well as thermally. One pump (2) is slightly bigger than the other (1). The bigger pump pumps a slightly bigger volume of fluid than the smaller pump, and it generates a slightly bigger torque under the same pressure difference so that it will drive the smaller pump. Both pumps are split into a large number of layers that are alternatingly arranged with a lot of heat conducting walls between. The other components are heat exchangers. The pumps perform the isochoric steps (A, C) of the thermodynamic cycle whereas the heat exchangers do the isobaric steps (R, B, D). The following diagrams show the flows of heat and working fuid.


Pump C must get rid of a slightly bigger amout of heat than pump A can absorb, the difference is put into the recuperator R. The other two heat exchangers B and D exchange heat with the outer world. The working fluid does, of course, change its volume during the process, because otherwise the engine would not be able to do any work. But the change of volume takes place between the two slightly different pumps, not in a compressor or expander device. The change of volume moreover takes place outside the pumps, for example in a kilometer-long borehole B, which allows for working fluids with a relatively small thermal dilatation such as water.
With gear pumps, the proposed heat engine can easily be constructed of laser-cutted plates. The animation below shows the plan. The red plates are heat conducters that consist of pure copper, the grey plates are heat isolaters that consist of ceramics. The blue tubes represent the heat exchangers B and D, which should in reality be much longer, of course.

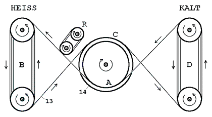
However, the proposed heat engine can better be constructed with the rotary piston array as pumps, which can efficiently transfer heat between neighbouring working chambers on the rotor surfaces. But it also saves weight and space and the expensive copper plates. The rotors are twisted at a constant pich to avoid compression. Below, the letters indicate the usage of the working chambers.

The next example shows the same heat engine with a solid working fluid, a tensioned steel wire, and cable pulleys serve as pumps. The two middle pulleys A and C are mechanically and thermally coupled and have slightly different diameters. Heat and cold, respectively, are applied at the heat exchangers B and D, the wire that is wound many times between the double pulleys. Heat can be applied with a flame, for example. Different temperatures at B and D will change the tensions there, and the relaxation of these drives the machine. The arrows show the directions in which the wire moves.

More information is in the document below. Patent is pending.
Waermekraftmaschine.pdf (German) ...
The thermopneumatic power converter (TPC) is a simple mechanism to convert a temperature difference into a pressure difference e.g. of a working gas. A kind of revolving door (1) transports enclosed portions of gas between an inlet (4) and an outlet (5). On its way from the inlet to the outlet the gas is moved along a hot wall (9), where the gas pressure gets higher. On its way back from the outlet to the inlet the gas is moved along a cold wall (10), where the gas pressure gets lower. Between the hot wall and the cold wall is a heat isolator (11). All pressure forces compensate each other so that no torque is applied to the revolving door and very low power suffices to turn it. The pressure difference between the inlet and the outlet is generated by the temperature difference alone.

The pressure difference can be used to drive a pneumatic motor (14) such as the rotary piston array. Several elementary TPCs can be connected in series to increase the total pressure, which gets one a kind of thermopneumatic battery. Several TPCs may encircle e.g. a fire (6) with their hot walls whereas their cold walls are cooled with water (7) outside. The device below may be e.g. a ship engine.

The TPC can very well be heated with sunlight (16) concentrated by a parabolic mirror (15).

If the working fluid is electrically charged - such as the electrons in an electric conductor - the TPC can directly convert thermal power into electric power. It then becomes a thermoelectric power converter. In the picture below, the revolving door is equipped with charged and temperature dependent capacitors (19, 20, 21), which change their capacity and thus their voltage with the temperature. The capacitors contain a temperature dependent dielectric (21) such as water, which lets their voltage change by a factor of 1.45 in the temperature range between 20 an 95 degrees Celsius. The generated voltage may e.g. drive an electric motor (24). The battery (25) is needed to charge the capacitor occasionally.

More information is in the document below. Patent is pending.
ThermopneumatischerWandler.pdf (German) ...
I do hereby protest against an idiotic academic system that denies me my income.
|
|