게시글 본문내용
|
NOTE
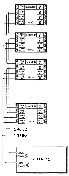
1. 신호전송선로 2가닥에는 Hi-MUX 중계기 2회로용을 63개까지 접속한다. 2. 중계기에 접속 가능한 방재설비용 기기 장치는 다음과 같다. 1)입력단자(IN # 1,2) -발신기 및 각종 화재 감지기 회로 -소방용 밸브 개방확인용 압력스위치 회로 -급수밸브 개폐확인용 스위치 회로 -저수위 감시용 FLOT 스위치 회로 -댑파, 방화샷다, 배연창, 배연커튼 및 도어릴리즈 등의 동작 감시회로 -기타 소방관련 설비의 작동 감시 회로 2)출력단자(OUT # 1,2) -경종,싸이렌 등 경보 회로 -각종 소방용 밸브 기동 회로 -댐파, 방화샷다, 배연창, 배연커튼 및 도어릴리즈 등의 원격제어 회로 -기타 소방관련 설비의 제어 회로 신호전송선: 실드선(HCVV-SB TWIST CABLE 1.2mm-1pr) 전원공급선: 내열전선(HIV, FR-III, FR-8) 2C (부하전류를 감안하여 전압강하가 2.4V 미만이 되도록 전선의 굵기를선정해야 함) |
다음검색
출처: 이서바라의 세상 원문보기 글쓴이: 이서바라
댓글
검색 옵션 선택상자
댓글내용선택됨
옵션 더 보기

